歡迎訪問北京中天恒遠環保設備有限公司官網!
咨詢熱線:010-8022-5898 手機:18610094262
-
湖北省仙桃市衛計委醫療污水處理設備采購中標公示 2018-01-23 [技術新聞] 熱度:300

依據仙財采計[2016]B262號計劃函要求,仙桃市政府采購中心受仙桃市衛計委的委托,對其所需醫療污水處理設備進行競爭性磋商采購。現就本項目開標評標結果公告如下: 一、采購項目名稱(招標文件編號): 仙桃市衛計委醫...
-
線路板油墨廢水深度凈化方法 2018-01-23 [技術新聞] 熱度:216

在線路板生產中,網...
-
昌邑濱海(下營)經濟開發區污水處理廠正式通過環保竣工驗收 2018-01-23 [技術新聞] 熱度:475

近日,記者從昌邑市環保局獲悉,日前,聯合環境水務(昌邑)有限公司下營污水處理廠正式通過環境保護設施竣工驗收。 據了解,該污水處理廠位于昌邑濱海(下營)經濟開發區,總投資約1.2億余元,規模為日處理污水2萬噸。該污水...
-
洗車污水水質分析與處理工藝 2018-01-23 [技術新聞] 熱度:319

隨著我國人口的不斷增長、經濟的發展和資源的超量開發,對環境造成了很大的壓力:水資源嚴重缺乏,水污染日益加劇。 并隨著人民生活水平的提高,單位和家庭擁有的汽車數量也越來越多,這勢必帶來洗車水的大量消耗,...
-
洗車廢水處理及回用技術 2018-01-23 [技術新聞] 熱度:341

洗車廢水處理技術的現狀典型的洗車廢水處理主要有兩種情況:一是處理洗車廢水比較集中、水量較大的運輸車輛場的洗車廢水,含油量等污染物量較高,屬于表1中的第二類水質;另一種是處理分散在城市中的小型洗車行的洗車...
-
垃圾滲濾液的組成及水質特點 2018-01-23 [技術新聞] 熱度:230

垃圾滲濾液是垃圾處理過程產生的二次污染物,我國滲濾液的典型污染物組成見表1,可以看出,我國垃圾滲濾液主要有以下幾個特征: 表1(垃圾滲濾液處理技術的發展與展望) 1)滲濾液成分復雜。滲濾液中含有低分子量的脂肪...
-
廢水生物處理新技術 2018-01-23 [技術新聞] 熱度:211

一、廢水生物處理新技術: 廢水生物處理是用生物學的方法處理廢水的總稱,是現代廢水處理應用中最廣泛的方法之一,主要借助微生物的分解作用把廢水中有機物轉化為簡單的無機物,使廢水得到凈化。按對氧氣需求情況,...
-
切削液廢水處理 2018-01-23 [技術新聞] 熱度:284

切削液按油品化學組成分為水溶性(水基)液和非水溶性(油基)液兩大類。 一、水基切削液的廢液處理 水基切削液的廢液處理可分為物理處理、化學處理、生物處理、燃燒處理四大類。 切削液廢水處理:1)物理處理:其目的是...
-
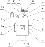
便于安裝的水處理設備 2018-01-23 [技術新聞] 熱度:254

本發明涉及一種便于安裝的水處理設備,包括進水機構、濾芯組件和出水機構,進水機構和出水機構通過濾芯組件連通;進水機構和出水機構均具有接頭組件,接頭組件包括轉接盤和轉接管,轉接管位于轉接盤內部,轉接管的中...
-
全程水處理設備 2018-01-23 [技術新聞] 熱度:208

本實用新型涉及一種全程水處理設備,它包括水處理罐體,所述的水處理罐體的下端設置有出水管道,所述的出水管道的下端設置有出水口,所述的水處理罐體上設置有水處理控制器,所述的水處理罐體的左端設置有水位標度尺...
-
第三方是的地方 2018-01-23 [技術新聞] 熱度:249

...
-
難降解有機廢水物化溶劑吸附處理設備介紹 2018-01-23 [行業資訊] 熱度:277

本實用新型公開了一種難降解有機廢水的物化溶劑吸附處理設備,包括反應罐、高壓風機、氧化室和氣浮室,所述氧化室右側連接有第二連接管道,所述排渣口右側固定有排渣管道,所述氣浮室右側連接有第三連接管道,所述第...
-
廣西欽州市河東污水處理廠提標改造工程施工招標公告 2018-01-23 [行業資訊] 熱度:245

1. 招標條件 本招標項目 欽州市河東污水處理廠提標改造工程 已由 欽州市發展和改革委員會 以 欽市發改環資[2017] 32號、欽市發改環資[2017] 39號、欽市發改環資[2017]64號 文批準建設,招標人為 欽州市開投水務有限...
-
西藏昌都市卡若區昌都鎮水廠俄洛分廠取水泵站及輸水管網項目施工 2018-01-23 [技術新聞] 熱度:356

1. 招標條件 本招標項目昌都鎮水廠俄洛分廠取水泵站及輸水管網項目已由貢覺縣發改委以昌發改基建【2017】560號文批準建設,招標人為昌都市鑫盛水務投資有限公司,建設資金來自國家投資資金,項目出資比例為100% 。項...
-
污水處理的步驟 2018-01-23 [技術新聞] 熱度:329

污水處理一般來說包含以下三級處理:一級處理是它通過機械處理,如格柵、沉淀或氣浮,去除污水中所含的石塊、砂石和脂肪、油脂等。二級處理是生物處理,污水中的污染物在微生物的作用下被降解和轉化為污泥。三級處理...
- 首頁
- 上一頁
- 533
- 534
- 535
- 536
- 537
- 538
- 539
- 540
- 541
- 542
- 543
- 下一頁
- 末頁
- 共 644頁9646條
服務地區:北京;天津;上海;重慶;河北;河南;云南;遼寧;黑龍江;湖南;安徽;山東;江蘇;浙江;江西;湖北;廣西;甘肅;山西;陜西;吉林;福建;貴州;廣東;青海;四川;寧夏;海南
服務地區:哈爾濱;長春;沈陽;南京;濟南;合肥;石家莊;鄭州;武漢;長沙;南昌;西安;太原;成都;西寧;海口;廣州;貴陽;杭州;福州;臺北;蘭州;昆明;銀川;烏魯木齊;拉薩;南寧
補充分類:電廠;工業;游泳池;系統;工程;工程師;藥劑;過濾器;絮凝劑;公司;廠家;生產廠家;