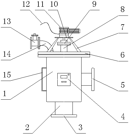
本實用新型涉及一種全程水處理設備,它包括水處理罐體,所述的水處理罐體的下端設置有出水管道,所述的出水管道的下端設置有出水口,所述的水處理罐體上設置有水處理控制器,所述的水處理罐體的左端設置有水位標度尺,所述的水處理罐體的右側設置有進水口,所述的水處理罐體的上端設置有連接法蘭,所述的連接法蘭的上端設置有電機支撐架、旋轉軸和彎管道,所述的電機支撐架的上端設置有旋轉軸法蘭,所述的旋轉軸法蘭的上端設置有支撐板,所述的支撐板的上端設置有旋轉電機,所述的旋轉電機連接有電源線,所述的彎管道的左端連接有閥體;因此,本實用新型具有適用范圍廣、使用方便、穩定性和水處理效果好的優點。

權利要求書
1.一種全程水處理設備,它包括水處理罐體,其特征在于:所述的水處理罐體的下端設置有出水管道,所述的出水管道的下端設置有出水口,所述的水處理罐體上設置有水處理控制器,所述的水處理罐體的左端設置有水位標度尺,所述的水處理罐體的右側設置有進水口,所述的水處理罐體的上端設置有連接法蘭,所述的連接法蘭的上端設置有電機支撐架、旋轉軸和彎管道,所述的電機支撐架的上端設置有旋轉軸法蘭,所述的旋轉軸法蘭的上端設置有支撐板,所述的支撐板的上端設置有旋轉電機,所述的旋轉電機連接有電源線,所述的彎管道的左端連接有閥體。
2.根據權利要求1所述的一種全程水處理設備,其特征在于:所述的水處理罐體的截面形狀為矩形。
3.根據權利要求1所述的一種全程水處理設備,其特征在于:所述的出水管道與進水口的軸心線垂直。
4.根據權利要求1所述的一種全程水處理設備,其特征在于:所述的旋轉電機與支撐板的連接方式為螺栓連接和焊接均可。
說明書
一種全程水處理設備
技術領域
本實用新型屬于水處理設備技術領域,具體涉及一種全程水處理設備。
背景技術
隨著社會的不斷發展,人們生活節奏的不斷加快,水處理設備對人們的生活越來越重要,一些用水需要水處理設備才能再次利用,現在市場上存在不少種類的水處理設備,結構和原理也各有不同,盡管存在這么多種類的水處理設備,但是仍然存在或多或少的不足之處,例如,結構不夠牢固、操作起來不方便、水處理的效果不好等;針對以上不足之處,有必要開發出一種水處理效果好、結構簡單、結構穩定、操作方便的水處理設備;因此,開發一種適用范圍廣、使用方便、結構簡單穩定、水處理效果好的全程水處理設備具有十分重要的意義。
發明內容
本實用新型的目的是為了克服現有技術的不足,而提供一種適用范圍廣、使用方便、結構簡單穩定、水處理效果好的全程水處理設備。
本實用新型的目的是這樣實現的:一種全程水處理設備,它包括水處理罐體,所述的水處理罐體的下端設置有出水管道,所述的出水管道的下端設置有出水口,所述的水處理罐體上設置有水處理控制器,所述的水處理罐體的左端設置有水位標度尺,所述的水處理罐體的右側設置有進水口,所述的水處理罐體的上端設置有連接法蘭,所述的連接法蘭的上端設置有電機支撐架、旋轉軸和彎管道,所述的電機支撐架的上端設置有旋轉軸法蘭,所述的旋轉軸法蘭的上端設置有支撐板,所述的支撐板的上端設置有旋轉電機,所述的旋轉電機連接有電源線,所述的彎管道的左端連接有閥體。
所述的水處理罐體的截面形狀為矩形。
所述的出水管道與進水口的軸心線垂直。
所述的旋轉電機與支撐板的連接方式為螺栓連接和焊接均可。
本實用新型的有益效果:本實用新型采用水處理罐體作為對水進行處理的主要部件,連接法蘭的設定在于能穩定的將旋轉電機和彎管道固定在所需位置,并且有利于對水處理罐體進行維修,電機支撐架的設定也是為了使旋轉電機在工作時,避免出現左右搖晃的現象,增加了整個裝置的穩定性;彎管道的設定有利于將處理后的雜物排出去,位置設定在連接法蘭上,使用起來很方便;出水管道與進水口的軸心線垂直,這種設計的好處在于連接外界的管道時很方便,并且有利于處理后的水流通;因此,本實用新型具有適用范圍廣、使用方便、穩定性和水處理效果好的優點。
需要咨詢購買水處理設備?免費為您提供產品報價和設計方案,咨詢電話:010-8022-5898





