產品分類
聯系我們
一種新型工業污水處理系統的污水處理方法,廣大的朋友都很關心這個問題,中天恒遠水處理設備公司小編李德馨認真總結整理了相關的內容知識,希望對您有所幫助。
小編整理總結了相關方面的知識及認真聽取了其他同事的說明,為您做以下的介紹。

一種新型工業污水處理系統的污水處理方法
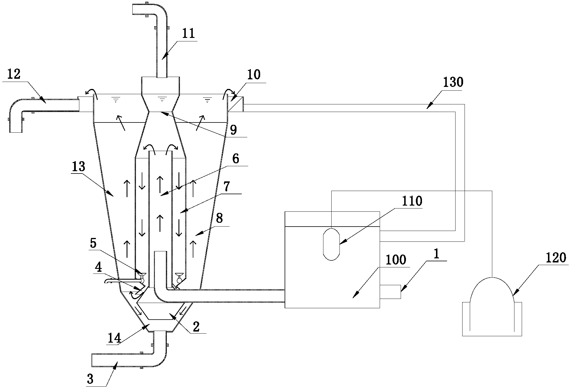
技術人員介紹,該方法依賴一套污水處理系統,污水處理系統包括集水池、集水池的一側設有進水管,集水池的另一側通過管道與一豎式污水處理裝置的底部相連;集水池中設有超聲波探頭,所述超聲波探頭通過連接件與超聲波發生器連接;所述豎式污水處理裝置包括:厭氧區、好氧區以及沉淀區;所述的三個區為三個套筒相互嵌套組合結構。

一種新型工業污水處理系統的污水處理方法優勢
小編分析,該工業污水處理系統的污水處理方法具有成本低,簡單有效,自動化程度高,適合于小型企業使用的優點。
小編點評:
在不開心的時候不要思考太多,學習也是一樣,如果暫時性沒有掌握,可以慢慢地學習,堅持進步,學習水處理設備行業知識也是如此。
一種新型工業污水處理系統的污水處理方法就介紹到這里了,感謝您閱讀本文,如果想了解更多,請持續關注我們的網站。