今天為大家介紹的是——水處理吸附劑再生系統
水處理吸附劑再生系統,屬于吸附劑處理技術領域。其包括板框壓濾機,板框壓濾機的進料端管路連接濃縮池和液堿罐,板框壓濾機的出料端管路連接液堿罐,板框壓濾機的卸料端下方配合設置螺旋輸送機,螺旋輸送機的出料端連接粉碎攪拌機,粉碎攪拌機管路連接加藥池,加藥池出料端連接吸附劑加藥管。通過該系統可以將吸附劑吸附的有機污染物等通過堿液脫附出來,并且是在板框壓濾期間,通過多次堿洗,將有機污染物洗脫出來,從而達到再生的目的,并且該系統能提高吸附劑再生率,降低投資成本和設備占地面積,提高工藝運行穩定性。
摘要附圖

權利要求書
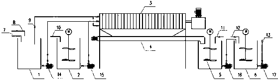
1.一種水處理吸附劑再生系統,包括板框壓濾機(3),其特征在于所述的板框壓濾機(3)的進料端管路連接濃縮池(2)和液堿罐(1),所述的板框壓濾機(3)的出料端管路連接液堿罐(1),所述的板框壓濾機(3)的卸料端下方配合設置螺旋輸送機(4),所述的螺旋輸送機(4)的出料端連接粉碎攪拌機(5),所述的粉碎攪拌機(5)管路連接加藥池(6),所述的加藥池(6)出料端連接吸附劑加藥管(13)。
2.如權利要求1所述的一種水處理吸附劑再生系統,其特征在于所述的液堿罐(1)上配合設置進水管(8)和液堿進管(7)。
3.如權利要求1所述的一種水處理吸附劑再生系統,其特征在于所述的濃縮池(2)上配合設置濃縮液進管(10)。
4.如權利要求1所述的一種水處理吸附劑再生系統,其特征在于所述的粉碎攪拌機(5)上配合設置第二進水管(11)。
5.如權利要求1所述的一種水處理吸附劑再生系統,其特征在于所述的加藥池(6)上配合設置酸進管(12)。
6.如權利要求1所述的一種水處理吸附劑再生系統,其特征在于所述的板框壓濾機(3)的出料端與液堿罐(1)之間的管路上設有回流閥(9)。
7.如權利要求1所述的一種水處理吸附劑再生系統,其特征在于所述的液堿罐(1)和板框壓濾機(3)的進料端之間的管路上設有液堿泵(14),所述的濃縮池(2)和板框壓濾機(3)的進料端之間的管路上設有污泥泵(15),所述的粉碎攪拌機(5)和加藥池(6)之間的管路上設有第二污泥泵(16),所述的吸附劑加藥管(13)上設有加藥泵(17)。
說明書
一種水處理吸附劑再生系統
技術領域
本實用新型屬于吸附劑處理技術領域,具體涉及一種水處理吸附劑再生系統。
背景技術
隨著我國工業持續快速的發展,環境問題日益突出,對環境治理的要求也越來越高,當前水處理排放指標也越來越嚴格,所以吸附工藝成為了近年來大部分污水處理提標的一個重要工藝,企業及政府污水處理機構提標改造工程中面臨的難題是如何進一步降低污染物排放,如何減少運行投資費用,而傳統的吸附再生工藝,在使用中卻存在很多實際問題,吸附材料再生率低,再生能耗大,再生設備操作難度大,而且占地面積也比較大,投資成本高。因此針對傳統吸附再生工藝的改進,提高吸附劑的再生率,降低吸附劑再生成本勢在必行。
吸附劑傳統再生工藝,首先要將吸附劑打入1#板框壓濾后,再進行粉碎加堿液脫附,然后再打入2#板框壓濾,壓濾后的吸附再進行加酸活化,然后再打入3#板框壓濾,壓濾后的吸附劑經粉碎加水后方可使用,這種工藝不僅投資大,占地面積大,而且操作繁瑣,損耗大,再生率低,成本偏高。
實用新型內容
針對現有技術存在的問題,本實用新型的目的在于設計提供一種水處理吸附劑再生系統的技術方案。
所述的一種水處理吸附劑再生系統,包括板框壓濾機,其特征在于所述的板框壓濾機的進料端管路連接濃縮池和液堿罐,所述的板框壓濾機的出料端管路連接液堿罐,所述的板框壓濾機的卸料端下方配合設置螺旋輸送機,所述的螺旋輸送機的出料端連接粉碎攪拌機,所述的粉碎攪拌機管路連接加藥池,所述的加藥池出料端連接吸附劑加藥管。
所述的一種水處理吸附劑再生系統,其特征在于所述的液堿罐上配合設置進水管和液堿進管。
所述的一種水處理吸附劑再生系統,其特征在于所述的濃縮池上配合設置濃縮液進管。
所述的一種水處理吸附劑再生系統,其特征在于所述的粉碎攪拌機上配合設置第二進水管。
所述的一種水處理吸附劑再生系統,其特征在于所述的加藥池上配合設置酸進管。
所述的一種水處理吸附劑再生系統,其特征在于所述的板框壓濾機的出料端與液堿罐之間的管路上設有回流閥。
所述的一種水處理吸附劑再生系統,其特征在于所述的液堿罐和板框壓濾機的進料端之間的管路上設有液堿泵,所述的濃縮池和板框壓濾機的進料端之間的管路上設有污泥泵,所述的粉碎攪拌機和加藥池之間的管路上設有第二污泥泵,所述的吸附劑加藥管上設有加藥泵。
上述的一種水處理吸附劑再生系統,設計合理,通過該系統可以將吸附劑吸附的有機污染物等通過堿液脫附出來,并且是在板框壓濾期間,通過多次堿洗,將有機污染物洗脫出來,從而達到再生的目的,并且該系統能提高吸附劑再生率,降低投資成本和設備占地面積,提高工藝運行穩定性。

污水處理設備聯系方式:
銷售熱線:010-8022-5898
手機號碼:186-1009-4262