帶有壓力傳感器的壓載水處理裝置,包括殼體,殼體頂端可拆卸設有殼體蓋;還包括多個用于對圓筒形過濾器外周表面進行噴射待處理水的噴嘴,空心軸的下方設置有已處理水排出管道,已處理水排出管道包括豎直段和固設在殼體壁上的水平段,豎直段與空心軸同軸設置且其之間設有一定間隙,豎直段的上端的外邊緣設有一錐筒狀擋水罩;殼體的上端和下端分別設有紫外線殺菌裝置和第二紫外線殺菌裝置,紫外線殺菌裝置和第二紫外線殺菌裝置的數量均為四個且沿殼體內側壁表面均勻布置;本實用新型成本低廉,不會對海水造成污染,且對船舶壓載水的處理效率較高。

權利要求書
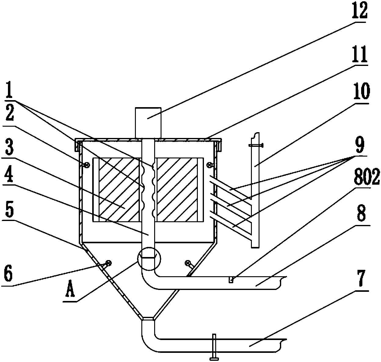
1.一種帶有壓力傳感器的壓載水處理裝置,包括殼體,該殼體上部呈圓筒狀,下部呈錐狀并在底端向一側連通有濁物排出管道,殼體頂端可拆卸設有殼體蓋,殼體內設有圓筒形過濾器及空心軸,空心軸上沿軸向密布有多個水流孔;還包括多個并排設置的用于對圓筒形過濾器外周表面進行噴射待處理水的噴嘴,噴嘴穿過所述殼體,其位于殼體內部的一端設有噴嘴口,位于殼體外部的一端連通在待處理水吸入管路上,待處理水吸入管路一端封閉,另一端與待處理水相連通;空心軸的下方設置有已處理水排出管道,已處理水排出管道包括設于殼體內部的豎直段和固定穿設在殼體壁上的水平段;其特征在于:
在已處理水排出管道末端的內壁表面安裝有用于檢測已處理水流量的壓力傳感器;所述空心軸的上端穿過殼體并由置于殼體頂端的電機驅動其轉動,圓筒形過濾器固設在空心軸外端并隨其轉動;所述圓筒形過濾器沿其徑向均勻布置有多個三角形凹槽;所述豎直段與空心軸同軸設置,豎直段的上端的外邊緣設有一錐筒狀擋水罩;所述噴嘴的設置方向與圓筒形過濾器的軸線方向之間的傾斜角度為60-90゜,噴嘴口呈喇叭狀;
所述殼體的上端和下端分別設有紫外線殺菌裝置和第二紫外線殺菌裝置,紫外線殺菌裝置的紫外線波長小于第二紫外線殺菌裝置的紫外線波長,紫外線殺菌裝置和第二紫外線殺菌裝置的數量均為四個且沿殼體內側壁表面均勻布置。
2.根據權利要求1所述的帶有壓力傳感器的壓載水處理裝置,其特征在于:所述待處理水吸入管路上設有第良好量調節閥。
3.根據權利要求1所述的帶有壓力傳感器的壓載水處理裝置,其特征在于:所述濁物排出管道上設有第二流量調節閥。
4.根據權利要求1-3任一項所述的帶有壓力傳感器的壓載水處理裝置,其特征在于:所述濁物排出管道與殼體之間可拆卸連接。
5.根據權利要求4所述的帶有壓力傳感器的壓載水處理裝置,其特征在于:所述電機外部設置有電機外罩。
說明書
一種帶有壓力傳感器的壓載水處理裝置
技術領域
本實用新型涉及海洋環境保護領域,尤其是涉及一種帶有壓力傳感器的壓載水處理裝置。
背景技術
船舶在起航時需要將一定量的海水抽進艙底以增強抗風浪能力,到載貨時再將水放出,這部分海水稱為船舶壓載水。每年全球有近十億噸的船舶壓載水在全球樞紐港口之間進行轉載,為防止將船舶壓載水中的微生物帶入其它海域,引起生物入侵問題,因此就需要對船舶壓載水進行有效處理。目前常用的壓載水處理方式有電解,藥物等方式,這些處理方式往往需消耗大量資金或者會給海水帶來污染,不適合采納,因此,設計一種成本低廉且不會對海水造成污染的船舶壓載水處理裝置成為目前亟待解決的問題。
實用新型內容
針對現有技術存在的不足,本實用新型的目的在于提供一種污染少效率高的壓載水處理裝置。
為實現上述目的,本實用新型提供了如下技術方案:本實用新型的一種帶有壓力傳感器的壓載水處理裝置,包括殼體,該殼體上部呈圓筒狀,下部呈錐狀并在底端向一側連通有濁物排出管道,殼體頂端可拆卸設有殼體蓋,殼體內設有圓筒形過濾器及空心軸,空心軸上沿軸向密布有多個水流孔;還包括多個并排設置的用于對圓筒形過濾器外周表面進行噴射待處理水的噴嘴,噴嘴穿過所述殼體,其位于殼體內部的一端設有噴嘴口,位于殼體外部的一端連通在待處理水吸入管路上,待處理水吸入管路一端封閉,另一端與待處理水相連通;空心軸的下方設置有已處理水排出管道,已處理水排出管道包括設于殼體內部的豎直段和固定穿設在殼體壁上的水平段;
在已處理水排出管道末端的內壁表面安裝有用于檢測已處理水流量的壓力傳感器;
所述空心軸的上端穿過殼體并由置于殼體頂端的電機驅動其轉動,圓筒形過濾器固設在空心軸外端并隨其轉動;所述圓筒形過濾器沿其徑向均勻布置有多個三角形凹槽;
所述豎直段與空心軸同軸設置,豎直段的上端的外邊緣設有一錐筒狀擋水罩;所述噴嘴的設置方向與圓筒形過濾器的軸線方向之間的傾斜角度為60-90゜,噴嘴口呈喇叭狀;
所述殼體的上端和下端分別設有紫外線殺菌裝置和第二紫外線殺菌裝置,紫外線殺菌裝置的紫外線波長小于第二紫外線殺菌裝置的紫外線波長,紫外線殺菌裝置和第二紫外線殺菌裝置的數量均為四個且沿殼體內側壁表面均勻布置。
進一步地,所述待處理水吸入管路上設有第良好量調節閥。
進一步地,所述濁物排出管道上設有第二流量調節閥。
進一步地,所述濁物排出管道與殼體之間可拆卸連接。
更進一步地,所述電機外部設置有電機外罩。
有益效果:本實用新型結構簡單,使用方便,成本低廉,不會對海水造成污染,且對船舶壓載水的處理效率較高。

污水處理設備聯系方式:
銷售熱線:010-8022-5898
手機號碼:186-1009-4262
污水處理欄目網址:http://www.blogstation.cn/ws/