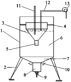
油田污水處理裝置,包括外罐體,外罐體通過支撐腳立于地面上,所述外罐體下部設有沉淀腔,沉淀腔下部設有微孔過濾器,微孔過濾器下部設有放水閥,所述外罐體內部還設有一個分離漏斗,所述分離漏斗下部設有導通管與外罐體聯通,所述分離漏斗的外徑小于外罐體的內徑,分離漏斗通過固定架固定在外罐體內壁,所述分離漏斗上部設有進水管和出水管,所述出水管聯通水泵。

權利要求書
1.油田污水處理裝置,包括外罐體,其特征是外罐體通過支撐腳立于地面上,所述外罐體下部設有沉淀腔,沉淀腔下部設有微孔過濾器,微孔過濾器下部設有放水閥,所述外罐體內部還設有一個分離漏斗,所述分離漏斗下部設有導通管與外罐體聯通,所述分離漏斗的外徑小于外罐體的內徑,分離漏斗通過固定架固定在外罐體內壁,所述分離漏斗上部設有進水管和出水管,所述出水管聯通水泵。
2.如權利要求1所述的油田污水處理裝置,其特征是所述外罐體內充入清潔水,所述清潔水的水位低于出水管下端高于進水管下端。
3.如權利要求1所述的油田污水處理裝置,其特征是所述外罐體采用玻璃鋼一體制成。
4.如權利要求1或2所述的油田污水處理裝置,其特征是所述沉淀腔外側底部還設有多個出渣閥。
說明書
油田污水處理裝置
技術領域
本實用新型涉及一種油田輔助設備,尤其是涉及一種油田污水處理裝置。
背景技術
在油田采油過程中,需要向地下油層高壓注水,但是上述高壓注水有很多會溢出地面或者直接灑落地面,對油田周邊環境照成污染,因此需要對上述油田污水進行治理,但是由于上述污水含油量較低,采用現有的技術進行處理成本較高,得不償失。
實用新型內容
為了克服上述技術問題,本實用新型提供了一種油田污水處理裝置,采用的技術方案如下:
油田污水處理裝置,包括外罐體,外罐體通過支撐腳立于地面上,所述外罐體下部設有沉淀腔,沉淀腔下部設有微孔過濾器,微孔過濾器下部設有放水閥,所述外罐體內部還設有一個分離漏斗,所述分離漏斗下部設有導通管與外罐體聯通,所述分離漏斗的外徑小于外罐體的內徑,分離漏斗通過固定架固定在外罐體內壁,所述分離漏斗上部設有進水管和出水管,所述出水管聯通水泵。
進一步的,所述外罐體內充入清潔水,所述清潔水的水位低于出水管下端高于進水管下端。
進一步的,所述外罐體采用玻璃鋼一體制成。
進一步的,所述沉淀腔外側底部還設有多個出渣閥。
采用上述裝置,成本較低,可以有效的處理油田污水,放水閥放出的水可直接作為中水使用,出水管抽出的水可進一步進行精煉。

污水處理設備聯系方式:
銷售熱線:010-8022-5898
手機號碼:186-1009-4262
污水處理欄目網址:http://www.blogstation.cn/ws/