排污水高效節能電磁設備,屬于排污設備;它的浮力殼內安裝有泵水殼、電磁線圈,電磁線圈固定在泵水殼的外面,泵水殼的下端固定在浮力殼內的下端;出水閥固定在泵水殼的中心孔內,泵水殼內有排污彈簧和鐵芯活塞,排污彈簧頂壓在鐵芯活塞的下端面,密封帽密封進水腔和擠壓腔的進污水通道;鐵芯活塞內的塞孔內固定有限制塞,內錐孔內安裝有密封球或密封錐。排污水高效節能電磁設備的結構緊湊、振動小、電能利用率高、動力強勁,適合污水處理站抽排污水、污水池中抽排污水和在堵塞的污水溝中抽排污水;漂浮在污水面上隨污水面的變化而自動升高或下降,泥沙和污泥不能夠進入污水泵內,還能夠自流排送污水。

權利要求書
1.一種排污水高效節能電磁設備,其特征在于:所述的排污水高效節能電磁設備包括浮力殼、電磁線圈、泵水殼、進水孔、密封錐、密封帽、排污彈簧、鐵芯活塞、限制塞、內錐孔、通水孔、出水閥、排污連接頭、磁場控制器;
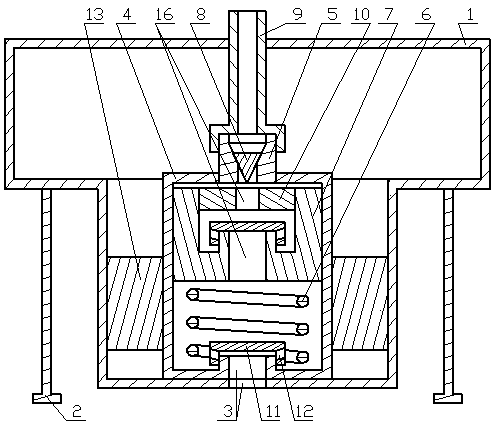
在浮力殼內的下面部分安裝有泵水殼、電磁線圈,在浮力殼的外面的下面一面固定有腳架,腳架的下端低于浮力殼下端的進水孔的位置,浮力殼下端的進水孔與泵水殼下端的進水孔相通;電磁線圈固定在泵水殼外面的上面部分,泵水殼的下端固定在浮力殼內的下端;
連接電磁線圈的電路與磁場控制器連接,磁場控制器的電路與絕緣電線連接,磁場控制器安裝在浮力殼內;
在泵水殼內安裝有密封帽、排污彈簧、鐵芯活塞、限制塞,鐵芯活塞安裝在泵水殼的內腔的上面部分,排污彈簧安裝在泵水殼的內腔的下面部分,排污彈簧的下端壓在泵水殼內的下端、上端頂壓在鐵芯活塞的下端部,鐵芯活塞在泵水殼的內腔內能夠上下滑動;在鐵芯活塞內的塞孔的下面部分的密封頸上安裝有密封帽,密封帽的帽管部分在密封頸的外圓面上能夠上下滑動,在塞孔內安裝有限制塞來限制密封帽向上滑動時的滑動距離,限制塞在塞孔中的固定采用過盈配合固定或螺紋配合固定或采用卡簧卡在塞孔中的卡簧槽內固定限制塞的兩端;密封帽的內頂部分的內密封面與環形密封面配合而密封時能夠關閉鐵芯活塞上的進污水的通道,密封帽的內頂部分的內密封面與環形密封面分開時能夠打開鐵芯活塞上的進污水的通道;在泵水殼內的下端的密封頸的外圓面上套有密封帽,密封帽在泵水殼內的下端的密封頸的外圓面上能夠上下滑動;密封帽內的內密封面與密封頸端部的環形密封面配合能夠密封或打開進入泵水殼內的進污水通道;鐵芯活塞上行時,鐵芯活塞下面部分的泵水殼的內腔部分是進水腔;鐵芯活塞下行時,鐵芯活塞上面部分的泵水殼的內腔部分是擠壓腔;在泵水殼的上端安裝有出水閥,出水閥的下面部分固定在泵水殼的上面一端的中心孔內;出水閥的上端露出泵水殼的上端面的部分與排污連接頭的下端連接,排污連接頭通過伸出孔固定在浮力殼的上端,排污連接頭的上端通過軟管或伸縮管與輸送管道連接;
所述的浮力殼的材料是金屬、塑料、尼龍、玻璃鋼、橡膠中的一種類型或幾種類型的材料,采用橡膠材料時或成型后的浮力殼是軟殼體時,在使用時要先給浮力殼的內腔充氣使其能夠浮于水面;空心閥體和泵水殼的材料采用金屬、塑料、尼龍和玻璃鋼中的一種類型或幾種類型的材料;密封錐的材料采用金屬、塑料、尼龍和橡膠中的一種類型或幾種類型的材料;密封帽的材料采用金屬、塑料、尼龍和玻璃鋼中的一種類型或幾種類型的材料;鐵芯活塞的材料是能夠受磁場吸引的材料;排污彈簧采用的材料是金屬和橡膠中的一種類型或兩種類型的材料,采用橡膠材料時,排污彈簧是空心管式的彈簧,利用橡膠的彈性和收縮性來實現彈簧的功能;排污連接頭的材料是金屬、塑料、尼龍、玻璃鋼、橡膠中的一種類型或幾種類型的材料;
所述的浮力殼是產生浮力的空心腔體,空心腔體的上端有伸出孔和線孔、下端有進水孔,空心腔體內的下面部分安裝有磁場控制器、電磁線圈和泵水殼及泵水殼內安裝的部件,空心腔體內的上面部分安裝有排污連接頭;空心殼體內的下端與泵水殼的下端配合而密封空心殼體的下面部分的內腔,空心殼體下端的進水孔與泵水殼下端的進水孔的位置相對應并相通;伸出孔是讓排污連接頭穿過的孔,通過螺母固定排污連接頭,并通過排污連接頭和密封墊及螺母密封伸出孔;線孔是讓絕緣電線穿過的孔,并通過絕緣電線和密封膠環密封線孔;把浮力殼放入污水中時,浮力殼產生的浮力能夠支撐浮力殼及其內部的部件的所有重量而浮于污水面上;浮力殼漂浮在污水面上工作時,能夠隨污水面的升高而升高、隨污水面的降低而降低;
為了便于浮力殼的加工和便于把配件裝入浮力殼內,所述的浮力殼是分段后的組合體,在浮力殼中間部位形狀比較大的地方分成兩個部分后再組合在一起;
所述的泵水殼的內腔是圓柱形腔體,圓柱形的腔體的圓柱面是光滑的曲面;在內腔的中心線上的上端有中心孔穿過泵水殼、下端有進水孔穿過泵水殼;在泵水殼內的下端的中部有向上凸出的密封頸,密封頸的上端部是環形密封面,密封頸的內部是進水孔,在密封帽的內密封面沒有與環形密封面密封時進水孔通過過水孔與進水腔相通,密封帽的內密封面與密封頸的環形密封面配合;
所述的出水閥包括空心閥體和密封錐,空心閥體是空心管,內錐孔在空心管的內腔的中部或中下部,空心管內的內錐孔的上面部分的內徑大、下面部分的內徑小;空心閥體的下端有回水密封端,回水密封端的下端面在空心閥體的下端、上端面是內錐孔,內錐孔的大端與出水閥的上端相通、小端與出水閥的下端相通,在內錐孔的內錐面上安裝有密封錐;所述的內錐孔是有錐度的圓孔,圓孔的面是內錐面;內錐孔的小端在下、大端在上,內錐面與密封錐的外錐面配合,在密封錐自身的重力的作用下能夠密封內錐面,在密封錐的上面有吸力時通過吸力能夠打開內錐面與密封錐密封的通道;密封錐上面的水壓越大,密封錐與內錐面的貼合密封效果越好;在從空心閥體下端的內孔進入有壓力的污水時能夠打開內錐面與密封錐的密封而形成通道,或者在輸送污水的管道的下端口低于進水孔時產生的吸力能夠打開內錐面與密封錐的密封而形成通道;
為了便于泵水殼的加工和便于把配件裝入泵水殼內,所述的泵水殼是分段后的組合體;在泵水殼內的圓柱形腔體部分的上端處分成二段,分段處的上面部分是泵蓋、下面部分是泵水殼的主體,中心孔在泵蓋上,進水孔在泵水殼的主體下端的中部,泵蓋與泵水殼的主體組合成為一個組合整體;或者,在泵水殼內的圓柱形腔體部分的下端處分成二段,分段處的下面部分是泵蓋、上面部分是泵水殼的主體,進水孔在泵蓋的中部,中心孔在泵水殼的主體的上端的中部,泵蓋與泵水殼的主體組合成為一個組合整體;
所述的鐵芯活塞是圓柱形的鐵芯,圓柱形的鐵芯的外圓面是光滑的外圓面,在光滑的外圓面上有凹陷的環槽,環槽內嵌有密封環;所述的外圓面與泵水殼的內腔配合能夠密封泵水殼的內腔,并能夠在泵水殼的內腔內滑動;所述的圓柱形的鐵芯的柱體中心部位有貫穿孔,貫穿孔與擠壓腔和進水腔相通;所述的貫穿孔的上面部分貫穿鐵芯的上端面、下面部分貫穿鐵芯下端面,貫穿孔的下面部分是通水孔,貫穿孔的上面部分是塞孔,在塞孔的底部有向上凸出的環形的密封頸,密封頸部分的內孔是通水孔的上面部分,在密封頸的外圓面與密封頸部分的塞孔之間有環形的凹槽,環形的凹槽用于容納密封帽的帽管部分;所述的密封頸的上端面是光滑平整的環形密封面,密封頸的外圓面是光滑的外圓面;在通水孔的上面是塞孔;所述的通水孔是讓污水通過的過孔,在環形密封面的下面,與進水腔和塞孔相通;所述的塞孔是安裝和固定限制塞的孔,在密封頸的上面和密封頸外面,與擠壓腔和通水孔相通;
所述的限制塞是限制安裝在鐵芯活塞內的密封頸上的密封帽向上移動的距離的、中間有通水孔的堵頭,所述的堵頭是中間有通孔的柱體或環形圈或卡簧圈;限制塞是中間有通孔的柱體時,在塞孔中的固定采用過盈配合固定或螺紋配合固定或采用卡簧卡在塞孔中的卡簧槽內固定柱體的兩端;限制塞是環形圈時,在塞孔中的固定采用過盈配合固定或采用卡簧卡在塞孔中的卡簧槽內固定環形圈的兩端;限制塞是卡簧圈時,直接將卡簧卡在塞孔中;
所述的環形密封面是圓環形的平整光滑的密封面,環形密封面分別在鐵芯活塞的密封頸的上端與密封帽的內密封面配合和在泵水殼的內腔的下端中部的密封頸的上端與密封帽內的內密封面配合;
所述的密封帽是頂部密封的圓管式帽體,密封帽的內頂部分是內密封面,靠近內密封面的圓管部分有過水孔;
所述的密封錐是圓錐體或錐柱體,圓錐體或錐柱體的環形表面是有錐度的外錐面;密封錐的外錐面與內錐面密封時靠密封錐自身的重力下壓而密封內錐面;
所述的磁場控制器是控制電磁線圈產生電磁場的控制器,控制著電磁場產生的時間和產生電磁場的時間長短、及每次產生電磁場后到第二次再產生電磁場的間隔時間;
所述的污排污連接頭是帶有連接頭和連接管的一體式的污水管;
所述的進水孔是污水進入泵水殼的內腔的經過水孔,分別在密封頸的中心部位和在浮力殼的底部的中心部位;在密封頸內的進水孔的上端有環形密封面,在浮力殼下端的密封頸的環形密封面上沒有安裝密封帽時,進水腔與進水孔相通;
在進水腔內儲備污水待壓,在擠壓腔內擠壓污水而產生水壓;在擠壓腔內進水時,進水腔與擠壓腔相通;在擠壓腔內排污水時,進水腔通過密封錐與鐵芯活塞內的內錐孔密封而斷開進入擠壓腔的進污水通道;
所述的排污水高效節能電磁設備在污水處理站或污水池或堵塞的污水溝中抽排污水時,控制進污水通道和出污水通道的單向止逆閥中沒有回位彈簧;在進水腔內進污水時,鐵芯活塞上行產生的吸力打開密封帽與泵水殼下端的密封頸的密封而打開進污水的通道,安裝在鐵芯活塞內的密封頸上的密封面在自身重力的作用下自動下降回位而關閉進入擠壓腔內的進污水的通道來進行密封;在擠壓腔進水時,安裝在出水閥的內錐孔上的密封錐利用自身的重力使密封錐自動下降回位而關閉出水閥上的出污水的通道來進行密封,鐵芯活塞下行而使進水腔內產生壓力推動安裝在鐵芯活塞內的密封頸上的密封帽上行繼而打開進入擠壓腔內的進污水的通道;在擠壓腔排出污水時,在出水壓力的作用下推動出水閥的內錐孔上的密封錐上行而打開出水閥的出污水的通道,安裝在鐵芯活塞內的密封頸上的密封帽利用自身的重力使密封帽自動下降回位而關閉鐵芯活塞上的進污水的通道來進行密封;
在用于污水池中抽取污水時和在堵塞的污水溝中抽排污水,在輸送污水的管道的出水口低于泵水殼下端的進水孔時,通過泵水而輸出的污水的水頭到達輸送污水的管道的出水口時,在虹吸作用下,安裝在出水閥內的密封錐被出水的吸力拉動而上行與內錐孔分離打開出污水的通道,安裝在鐵芯活塞內的密封頸上的密封帽在出水吸力的拉動下打開進入擠壓腔的進污水的通道,安裝在泵水殼下端的密封頸上的密封帽在出水吸力的拉動下打開進入進水腔的進污水的通道,整個泵污水的通道就變成了自流的通道,關閉電源后就能夠自流排送污水;
使用時,將排污水高效節能電磁設備放于污水處理站的污水中或污水池的污水中或堵塞的污水溝中的污水中,進水孔深入污水中,浮力殼的上面部分浮出污水面;接通與絕緣電線連接的電路開關與磁場控制器連接的電路,磁場控制器接通電磁線圈的通電電路產生電磁場;電磁場產生的吸引力拉動鐵芯活塞克服排污彈簧的壓力向下移動,鐵芯活塞開始下行時,安裝在泵水殼內下端的密封頸上的密封帽在自身重力的作用下下行回位而關閉進入進水腔的進污水通道,出水閥內的密封錐在自身的重力的作用下下行回位而密封出水閥的內錐面,切斷了擠壓腔的出污水通道;鐵芯活塞在下行時,鐵芯活塞推動進入進水腔內的污水而使污水產生內部壓力,有壓力的污水從鐵芯活塞內的通水孔進入到鐵芯活塞內的密封頸的上端處向上沖開環形密封面與密封帽的內密封面的密封而使密封帽移位后繼續上行,經過密封帽上的過水孔后再經過限制塞內的通水孔后進入擠壓腔內;
鐵芯活塞下行移動到壓縮排污彈簧的壓縮極限位時,磁場控制器斷開電磁線圈的通電電路,電磁場消失,鐵芯活塞在排污彈簧的推動下上行;鐵芯活塞開始上行時,安裝在鐵芯活塞內的密封頸上的密封帽在自身的重力的作用下下行而關閉了污水進入擠壓腔的進污水通道;在鐵芯活塞上行時,鐵芯活塞的上行而使擠壓腔內的污水產生了壓力,有壓力的污水從出水閥下端的密封端的內孔進入到出水閥內的內錐孔處推動密封錐上行而打開出水閥的密封通道,使擠壓腔內的污水經過出水閥、再經過排污連接頭后進入到輸送污水的管道中;鐵芯活塞在上行時,鐵芯活塞還使進水腔內產生了真空吸力,真空吸力吸動密封帽上行而使泵水殼下端的密封頸上端的環形密封面與密封帽的內密封面分開,污水從進水孔經過密封帽上的過水孔進入泵水殼內的鐵芯活塞下面的進水腔內;
鐵芯活塞在排污彈簧的推動下上行到位時,安裝在泵水殼內下端的密封頸上的密封帽在自身重力的作用下下行回位而關閉進入進水腔的進污水通道,出水閥內的密封錐在自身的重力的作用下下行回位而密封出水閥的內錐面,切斷了擠壓腔的出污水通道而使污水不返回進水腔;此時,磁場控制器又接通電磁線圈的通電電路再次產生電磁場而使鐵芯活塞下行;如此循環的接通和切斷電路,使電磁線圈產生電磁場拉動鐵芯活塞上行和讓排污彈簧推動鐵芯活塞下行,不斷地把污水泵出而輸送到輸送污水的管道中;在污水池中抽送污水時,當輸送污水的管道的出水口低于浮力殼的進水孔時,在輸送污水管道的出水口出水時,關閉電源后采用自流輸送污水;在抽取污水的過程中,浮力殼能夠隨污水面的升高或降低而自動升高或下降。
2.根據權利要求1所述的排污水高效節能電磁設備,其特征在于:為了保證浮力殼能夠保持形狀和不容易變形,在浮力殼的內腔內制造有支撐的骨架;
為了保證污水能夠正常進入進水孔內,浮力殼的重心制造在靠近進水孔的位置;
為了使鐵芯活塞能夠推動泵水殼內的擠壓腔內的污水進入出水閥,采用排污彈簧作為推動鐵芯活塞上行的動力。
3.根據權利要求1所述的排污水高效節能電磁設備,其特征在于:采用與絕緣電線連接的電路開關來控制磁場控制器的連接電路的接通和切斷;
為了使污水能夠進入泵水殼內,漂浮在污水面上的浮力殼的進水孔必須潛入到水面以下水泵才能夠正常工作。
4.根據權利要求1所述的排污水高效節能電磁設備,其特征在于:為了保證進入水泵內的污水中沒有污泥和泥沙,在進水孔接近污水的底部時,采用腳架支撐浮力殼使進水孔與污水的底部保持一定的距離。
5.根據權利要求1所述的排污水高效節能電磁設備,其特征在于:所述的排污水高效節能電磁設備的結構緊湊、振動小、電能利用率高、動力強勁,適合污水處理站抽排污水、污水池中抽排污水和在堵塞的污水溝中抽排污水;抽排污水時漂浮在污水面上,能夠隨污水面的升高或降低而自動升高或下降,污水底部的泥沙和污泥不能夠進入污水泵內;在輸送污水的管道的出水口低于泵水殼下端的進水孔時,關閉電源后也能夠自流排送污水,節約了電能;產業化的市場前景好、商業價值高,制造和使用都很方便。
6.一種排污水高效節能電磁設備的制造方法,其特征在于:在制造時,浮力殼采用金屬、塑料、尼龍、玻璃鋼、橡膠中的一種類型或幾種類型的材料制造,采用橡膠材料制造時或制造成形后的浮力殼是軟殼體時,在使用時要先給浮力殼的內腔充氣使其浮于水面;空心閥體和泵水殼采用金屬、塑料、尼龍和玻璃鋼中的一種類型或幾種類型的材料制造;密封錐采用金屬、塑料、尼龍和橡膠中的一種類型或幾種類型的材料制造;密封帽采用金屬、塑料、尼龍和玻璃鋼中的一種類型或幾種類型的材料制造;鐵芯活塞采用能夠受磁場吸引的材料制造;排污彈簧采用金屬和橡膠中的一種類型或兩種類型的材料制造,采用橡膠材料制造時,排污彈簧制造成為空心的管式彈簧,利用橡膠的彈性和收縮性實現彈簧的功能;排污連接頭采用金屬、塑料、尼龍、玻璃鋼、橡膠中的一種類型或幾種類型的材料制造;
浮力殼制造成為產生浮力的空心腔體,空心腔體的上端制造有伸出孔和線孔、下端制造有進水孔,伸出孔制造成為讓排污連接頭穿過的孔,通過螺母固定排污連接頭,并通過排污連接頭和密封墊及螺母密封伸出孔;線孔制造成為讓絕緣電線穿過的孔,并通過絕緣電線和密封膠環密封線孔;空心腔體內的下面部分安裝有磁場控制器、電磁線圈和泵水殼及泵水殼內安裝的部件,空心腔體內的上面部分安裝有排污連接頭;空心殼體內的下端與泵水殼的下端配合而密封空心殼體的下面部分的內腔,空心殼體下端的進水孔與泵水殼下端的進水孔的位置相對應并相通;
為了方便裝配,浮力殼在制造時,把浮力殼從中間的形狀比較大的地方分成兩部分制造后再組合在一起;
泵水殼的內腔制造成為圓柱形的腔體,圓柱形的腔體的圓柱表面制造成為光滑的曲面;在內腔的中心線上的上端制造有穿過泵水殼的中心孔、下端制造有進水孔穿過泵水殼;在泵水殼內的下端的中部制造有向上凸出的密封頸,密封頸的上端部制造成為環形密封面,密封頸的內部制造成為進水孔,在密封帽的內密封面沒有與環形密封面密封時進水孔通過過水孔與進水腔相通,密封帽的內密封面與密封頸的環形密封面配合;
出水閥制造成為空心閥體和密封錐兩部分,空心閥體制造成為空心管,內錐孔制造在空心管的內腔的中部或中下部,空心管內的內錐孔的上面部分制造的內徑大、下面部分制造的內徑小;空心閥體的下端制造有回水密封端,回水密封端的下端面制造在空心閥體的下端、上端面制造成為內錐孔,內錐孔的大端與出水閥的上端相通、小端與出水閥的下端相通,在內錐孔的內錐面上安裝有密封錐;所述的內錐孔制造成為有錐度的圓孔,圓孔的面制造成為內錐面;內錐孔的小端在下、大端在上,在密封錐自身的重力的作用下能夠密封內錐面,在密封錐的上面有吸力時通過吸力能夠打開內錐面與密封錐密封的通道;密封錐上面的水壓越大,密封錐與內錐面的貼合密封效果越好;在從空心閥體下端的內孔進入有壓力的污水時能夠打開內錐面與密封錐的密封而形成通道,或者在輸送污水的管道的下端口低于進水孔時產生的吸力能夠打開內錐面與密封錐的密封而形成通道;
為了便于泵水殼的加工和便于把配件裝入泵水殼內,所述的泵水殼制造成為分段加工制造后的組合體;在泵水殼內的圓柱形腔體部分的上端處分成二段制造,分段處的上面部分制造成為泵蓋、下面部分制造成為泵水殼的主體,中心孔制造在泵蓋上,進水孔制造在泵水殼的主體下端的中部,泵蓋和泵水殼后的主體制造好后再組合成為一個組合整體;或者,在泵水殼內的圓柱形腔體部分的下端處分成二段制造,分段處的下面部分制造成為泵蓋、上面部分制造成為泵水殼的主體,進水孔制造在泵蓋的中部,中心孔制造在泵水殼的主體的上端的中部,泵蓋與泵水殼的主體制造好后再組合成為一個組合整體;
鐵芯活塞制造成為圓柱形的鐵芯,圓柱形的鐵芯的外圓面制造成為光滑的外圓面,在光滑的外圓面上制造有凹陷的環槽,環槽內嵌有密封環;所述的外圓面與泵水殼的內腔配合能夠密封泵水殼的內腔,并能夠在泵水殼的內腔內滑動;所述的圓柱形的鐵芯的柱體中心部位制造有貫穿孔,貫穿孔與擠壓腔和進水腔相通;所述的貫穿孔制造成為上面部分貫穿鐵芯的上端面、下面部分貫穿鐵芯下端面,貫穿孔的下面部分制造成為通水孔,貫穿孔的上面部分制造成為塞孔,在塞孔的底部制造有向上凸出的環形的密封頸,密封頸部分的內孔制造成為通水孔的上面部分,在密封頸的外環面與密封頸部分的塞孔之間制造有環形的凹槽,環形的凹槽用于容納密封帽的帽管部分;所述的密封頸的上端面制造成為光滑平整的環形密封面,密封頸的外圓面制造成為光滑的外圓面;在通水孔的上面制造有塞孔;所述的通水孔制造成為讓污水通過的過孔,制造在環形密封面的下面,與進水腔和塞孔相通;所述的塞孔制造成為安裝和固定限制塞的孔,制造在密封頸的上面和密封頸外面,與擠壓腔和通水孔相通;
限制塞制造成為中間有通水孔的堵頭,所述的堵頭制造成為中間有通孔的柱體或環形圈或卡簧圈,能夠限制安裝在鐵芯活塞內的密封頸上的密封帽向上移動的距離;限制塞制造成為中間有通孔的柱體時,在塞孔中的固定采用過盈配合固定或螺紋配合固定或采用卡簧卡在塞孔中的卡簧槽內固定柱體的兩端;限制塞制造成為環形圈時,在塞孔中的固定采用過盈配合固定或采用卡簧卡在塞孔中的卡簧槽內固定環形圈的兩端;限制塞制造成為卡簧圈時,直接將卡簧卡在塞孔中;
所述的環形密封面制造成為圓環形的平整光滑的密封面,分別制造在鐵芯活塞的密封頸的上端與密封帽的內密封面配合和制造在泵水殼的內腔的下端中部的密封頸的上端與密封帽內的內密封面配合;
所述的密封帽制造成為頂部密封的圓管式帽體,密封帽的內頂部分制造成為內密封面,靠近內密封面的圓管部分制造有過水孔;
密封錐制造成為圓錐體或錐柱體,圓錐體或錐柱體的環形表面制造成為有錐度的外錐面;密封錐的外錐面與內錐面密封時靠密封錐自身的重力下壓而密封內錐面;
磁場控制器制造成為控制電磁線圈產生電磁場的控制器,控制著電磁場產生的時間和產生電磁場時間的長短、及每次產生電磁場后到第二次再產生電磁場的間隔時間;
排污連接頭制造成為帶有連接頭和連接管的一體式的污水管;
進水孔制造成為污水進入泵水殼的內腔的經過孔,分別制造在密封頸的中心部位和制造在浮力殼的底部的中心部位;在密封頸內的進水孔的上端制造有環形密封面,在浮力殼下端的密封頸的環形密封面上沒有安裝密封帽時,進水腔與進水孔相通;
為了保證浮力殼能夠保持形狀和不容易變形,在浮力殼的內腔內制造有支撐的骨架;
為了保證污水能夠正常進入進水孔內,浮力殼的重心制造在靠近進水孔的位置;
為了使污水能夠進入泵水殼內,漂浮在污水面上的浮力殼的進水孔必須潛入到水面以下水泵才能夠正常工作;
為了保證進入水泵內的污水中沒有污泥和泥沙,在進水孔接近污水的底部時,采用腳架支撐浮力殼使進水孔與污水的底部保持一定的距離;
為了使鐵芯活塞能夠推動泵水殼內的擠壓腔內的污水進入出水閥,采用排污彈簧作為推動鐵芯活塞上行的動力;
在浮力殼內的下面部分安裝有泵水殼、電磁線圈,在浮力殼的外面的下面一面固定有腳架,腳架的下端低于浮力殼下端的進水孔的位置,浮力殼下端的進水孔與泵水殼下端的進水孔相通;電磁線圈固定在泵水殼外面的上面部分,泵水殼的下端固定在浮力殼內的下端;連接電磁線圈的電路與磁場控制器連接,磁場控制器的電路與絕緣電線連接,磁場控制器安裝在浮力殼內;在泵水殼內安裝有密封帽、排污彈簧、鐵芯活塞、限制塞,鐵芯活塞安裝在泵水殼的內腔的上面部分,排污彈簧安裝在泵水殼的內腔的下面部分,排污彈簧的下端壓在泵水殼內的下端、上端頂壓在鐵芯活塞的下端部,鐵芯活塞在泵水殼的內腔內能夠上下滑動;在鐵芯活塞內的塞孔的下面部分的密封頸上安裝有密封帽,密封帽的帽管部分在密封頸的外圓面上能夠上下滑動,在塞孔內安裝有限制塞來限制密封帽向上滑動時的滑動距離,限制塞在塞孔中的固定采用過盈配合固定或螺紋配合固定或采用卡簧卡在塞孔中的卡簧槽內固定限制塞的兩端;密封帽的內頂部分的內密封面與環形密封面配合而密封時能夠關閉鐵芯活塞上的進污水的通道,密封帽的內頂部分的內密封面與環形密封面分開時能夠打開鐵芯活塞上的進污水的通道;在泵水殼內的下端的密封頸的外圓面上套有密封帽,密封帽在泵水殼內的下端的密封頸的外圓面上能夠上下滑動;密封帽內的內密封面與密封頸端部的環形密封面配合能夠密封或打開進入泵水殼內的進污水通道;鐵芯活塞上行時,鐵芯活塞下面部分的泵水殼的內腔部分是進水腔;鐵芯活塞下行時,鐵芯活塞上面部分的泵水殼的內腔部分是擠壓腔;在泵水殼的上端安裝有出水閥,出水閥的下面部分固定在泵水殼的上面一端的中心孔內;出水閥的上端露出泵水殼的上端面的部分與排污連接頭的下端連接,排污連接頭通過伸出孔固定在浮力殼的上端,排污連接頭的上端通過軟管或伸縮管與輸送管道連接。
說明書
排污水高效節能電磁設備
技術領域
本發明涉及污水排放領域的排污水高效節能電磁設備。
背景技術
傳統的在污水池排出污水和堵塞的污水溝排除污水時,都是采用潛水泵排污,用潛水泵排污經常發生堵塞的情況;為此,我們設計出了能夠漂浮在污水面上的排污水泵。
發明內容
本發明涉的目的是為了提供一種能夠漂浮在污水面上抽排污水的排污水高效節能電磁設備的制造及其方法。
為實現上述目的,本發明所述的排污水高效節能電磁設備主要包括浮力殼、電磁線圈、泵水殼、進水孔、密封球或密封錐、密封帽、排污彈簧、鐵芯活塞、限制塞、內錐孔、通水孔、出水閥、排污連接頭、磁場控制器、電子遙控裝置;
或者,所述的排污水高效節能電磁設備主要包括浮力殼、電磁線圈、泵水殼、進水孔、密封球或密封錐、密封帽、排污彈簧、鐵芯活塞、限制塞、內錐孔、通水孔、出水閥、排污連接頭、磁場控制器。
在浮力殼內的下面部分安裝有泵水殼、電磁線圈,在浮力殼的外面的下面一面固定有腳架,腳架的下端低于浮力殼下端的進水孔的位置,浮力殼下端的進水孔與泵水殼下端的進水孔相通;電磁線圈固定在泵水殼外面的上面部分,泵水殼的下端固定在浮力殼內的下端。
連接電磁線圈的電路與磁場控制器連接,磁場控制器的電路與電子遙控裝置連接,電子遙控裝置與絕緣電線連接,磁場控制器、電子遙控裝置和電子遙控裝置的電子信號接收器安裝在浮力殼內;或者,連接電磁線圈的電路與磁場控制器連接,磁場控制器的電路與絕緣電線連接,磁場控制器安裝在浮力殼內。
在泵水殼內安裝有密封帽、排污彈簧、鐵芯活塞、限制塞,鐵芯活塞安裝在泵水殼的內腔的上面部分,排污彈簧安裝在泵水殼的內腔的下面部分,排污彈簧的下端壓在泵水殼內的下端、上端頂壓在鐵芯活塞的下端部,鐵芯活塞在泵水殼的內腔內能夠上下滑動;在鐵芯活塞內的塞孔的下面部分的密封頸上安裝有密封帽,密封帽的帽管部分在密封頸的外圓面上能夠上下滑動,在塞孔內安裝有限制塞來限制密封帽向上滑動時的滑動距離,限制塞在塞孔中的固定采用過盈配合固定或螺紋配合固定或采用卡簧卡在塞孔中的卡簧槽內固定限制塞的兩端;密封帽的內頂部分的內密封面與環形密封面配合而密封時能夠關閉鐵芯活塞上的進污水的通道,密封帽的內頂部分的內密封面與環形密封面分開時能夠打開鐵芯活塞上的進污水的通道;在泵水殼內的下端的密封頸的外圓面上套有密封帽,密封帽在泵水殼內的下端的密封頸的外圓面上能夠上下滑動;密封帽內的內密封面與密封頸端部的環形密封面配合能夠密封或打開進入泵水殼內的進污水通道;鐵芯活塞上行時,鐵芯活塞下面部分的泵水殼的內腔部分是進水腔;鐵芯活塞下行時,鐵芯活塞上面部分的泵水殼的內腔部分是擠壓腔。在泵水殼的上端安裝有出水閥,出水閥的下面部分固定在泵水殼的上面一端的中心孔內;出水閥的上端露出泵水殼的上端面的部分與排污連接頭的下端連接,排污連接頭通過伸出孔固定在浮力殼的上端,排污連接頭的上端通過軟管或伸縮管與輸送管道連接。
所述的浮力殼的材料是金屬、塑料、尼龍、玻璃鋼、橡膠中的一種類型或幾種類型的材料,采用橡膠材料時或成型后的浮力殼是軟殼體時,在使用時要先給浮力殼的內腔充氣使其能夠浮于水面;空心閥體和泵水殼的材料采用金屬、塑料、尼龍和玻璃鋼中的一種類型或幾種類型的材料;密封球或密封錐的材料采用金屬、塑料、尼龍和橡膠中的一種類型或幾種類型的材料;密封帽的材料采用金屬、塑料、尼龍和玻璃鋼中的一種類型或幾種類型的材料;鐵芯活塞的材料是能夠受磁場吸引的材料;排污彈簧采用的材料是金屬和橡膠中的一種類型或兩種類型的材料,采用橡膠材料時,排污彈簧是空心管式的彈簧,利用橡膠的彈性和收縮性來實現彈簧的功能;排污連接頭的材料是金屬、塑料、尼龍、玻璃鋼、橡膠中的一種類型或幾種類型的材料。
所述的浮力殼是產生浮力的空心腔體,空心腔體的上端有伸出孔和線孔、下端有進水孔,空心腔體內的下面部分安裝有磁場控制器、電磁線圈和泵水殼及泵水殼內安裝的部件,或者,空心腔體內的下面部分安裝有電子遙控裝置、磁場控制器、電磁線圈和泵水殼及泵水殼內安裝的部件;空心腔體內的上面部分安裝有排污連接頭;空心殼體內的下端與泵水殼的下端配合而密封空心殼體的下面部分的內腔,空心殼體下端的進水孔與泵水殼下端的進水孔的位置相對應并相通;伸出孔是讓排污連接頭穿過的孔,通過螺母固定排污連接頭,并通過排污連接頭和密封墊及螺母密封伸出孔;線孔是讓絕緣電線穿過的孔,并通過絕緣電線和密封膠環密封線孔;把浮力殼放入污水中時,浮力殼產生的浮力能夠支撐浮力殼及其內部的部件的所有重量而浮于污水面上;浮力殼漂浮在污水面上工作時,能夠隨污水面的升高而升高、隨污水面的降低而降低。
為了便于浮力殼的加工和便于把配件裝入浮力殼內,所述的浮力殼是分段后的組合體,在浮力殼中間部位形狀比較大的地方分成兩個部分后再組合在一起。
所述的泵水殼的內腔是圓柱形腔體,圓柱形的腔體的圓柱面是光滑的曲面;在內腔的中心線上的上端有中心孔穿過泵水殼、下端有進水孔穿過泵水殼;在泵水殼內的下端的中部有向上凸出的密封頸,密封頸的上端部是環形密封面,密封頸的內部是進水孔,在密封帽的內密封面沒有與環形密封面密封時進水孔通過過水孔與進水腔相通,密封帽的內密封面與密封頸的環形密封面配合。
所述的出水閥包括空心閥體和密封球或密封錐,空心閥體是空心管,內錐孔在空心管的內腔的中部或中下部,空心管內的內錐孔的上面部分的內徑大、下面部分的內徑小;空心閥體的下端有回水密封端,回水密封端的下端面在空心閥體的下端、上端面是內錐孔,內錐孔的大端與出水閥的上端相通、小端與出水閥的下端相通,在內錐孔的內錐面上安裝有密封球或密封錐。所述的內錐孔是有錐度的圓孔,圓孔的面是內錐面;內錐孔的小端在下、大端在上,內錐面與密封球的球面或密封錐的外錐面配合,在密封球或密封錐自身的重力的作用下能夠密封內錐面,在密封球或密封錐的上面有吸力時通過吸力能夠打開內錐面與密封球或密封錐密封的通道;密封球或密封錐上面的水壓越大,密封球或密封錐與內錐面的貼合密封效果越好;在從空心閥體下端的內孔進入有壓力的污水時能夠打開內錐面與密封球或密封錐的密封而形成通道,或者在輸送污水的管道的下端口低于進水孔時產生的吸力能夠打開內錐面與密封球或密封錐的密封而形成通道。
為了便于泵水殼的加工和便于把配件裝入泵水殼內,所述的泵水殼是分段后的組合體;在泵水殼內的圓柱形腔體部分的上端處分成二段,分段處的上面部分是泵蓋、下面部分是泵水殼的主體,中心孔在泵蓋上,進水孔在泵水殼的主體下端的中部,泵蓋與泵水殼的主體組合成為一個組合整體;或者,在泵水殼內的圓柱形腔體部分的下端處分成二段,分段處的下面部分是泵蓋、上面部分是泵水殼的主體,進水孔在泵蓋的中部,中心孔在泵水殼的主體的上端的中部,泵蓋與泵水殼的主體組合成為一個組合整體。
所述的鐵芯活塞是圓柱形的鐵芯,圓柱形的鐵芯的外圓面是光滑的外圓面,在光滑的外圓面上有凹陷的環槽,環槽內嵌有密封環;所述的外圓面與泵水殼的內腔配合能夠密封泵水殼的內腔,并能夠在泵水殼的內腔內滑動。所述的圓柱形的鐵芯的柱體中心部位有貫穿孔,貫穿孔與擠壓腔和進水腔相通;所述的貫穿孔的上面部分貫穿鐵芯的上端面、下面部分貫穿鐵芯下端面,貫穿孔的下面部分是通水孔,貫穿孔的上面部分是塞孔,在塞孔的底部有向上凸出的環形的密封頸,密封頸部分的內孔是通水孔的上面部分,在密封頸的外圓面與密封頸部分的塞孔之間有環形的凹槽,環形的凹槽用于容納密封帽的帽管部分;所述的密封頸的上端面是光滑平整的環形密封面,密封頸的外圓面是光滑的外圓面;在通水孔的上面是塞孔;所述的通水孔是讓污水通過的過孔,在環形密封面的下面,與進水腔和塞孔相通;所述的塞孔是安裝和固定限制塞的孔,在密封頸的上面和密封頸外面,與擠壓腔和通水孔相通。
所述的限制塞是限制安裝在鐵芯活塞內的密封頸上的密封帽向上移動的距離的、中間有通水孔的堵頭,所述的堵頭是中間有通孔的柱體或環形圈或卡簧圈;限制塞是中間有通孔的柱體時,在塞孔中的固定采用過盈配合固定或螺紋配合固定或采用卡簧卡在塞孔中的卡簧槽內固定柱體的兩端;限制塞是環形圈時,在塞孔中的固定采用過盈配合固定或采用卡簧卡在塞孔中的卡簧槽內固定環形圈的兩端;限制塞是卡簧圈時,直接將卡簧卡在塞孔中。
所述的環形密封面是圓環形的平整光滑的密封面,環形密封面分別在鐵芯活塞的密封頸的上端與密封帽的內密封面配合和在泵水殼的內腔的下端中部的密封頸的上端與密封帽內的內密封面配合。
所述的密封帽是頂部密封的圓管式帽體,密封帽的內頂部分是內密封面,靠近內密封面的圓管部分有過水孔。
所述的密封錐是圓錐體或錐柱體,圓錐體或錐柱體的環形表面是有錐度的外錐面;密封錐的外錐面與內錐面密封時靠密封錐自身的重力下壓而密封內錐面。
所述的密封球是圓球體或橢圓球體,圓球體或橢圓球體的表面是密封面,密封面是光滑的球面;密封球的球面與內錐面密封時靠密封球的重力下壓而密封內錐面。
所述的磁場控制器是控制電磁線圈產生電磁場的控制器,控制著電磁場產生的時間和產生電磁場的時間長短、及每次產生電磁場后到第二次再產生電磁場的間隔時間。
所述的電子遙控裝置是接通和切斷磁場控制器的電路開關,包括接通或切斷電路的開關部分和電子遙控部分,電子遙控部分包括遙控器開關和電子信號接收器;遙控器開關用于工作人員隨身攜帶,便于工作人員操縱排污水高效節能電磁設備的正常工作和切斷排污水高效節能電磁設備的控制電路;所述的電子遙控裝置在本發明中可以有也可以沒有。
所述的污排污連接頭是帶有連接頭和連接管的一體式的污水管。
所述的進水孔是污水進入泵水殼的內腔的經過水孔,分別在密封頸的中心部位和在浮力殼的底部的中心部位;在密封頸內的進水孔的上端有環形密封面,在浮力殼下端的密封頸的環形密封面上沒有安裝密封帽時,進水腔與進水孔相通。
在進水腔內儲備污水待壓,在擠壓腔內擠壓污水而產生水壓;在擠壓腔內進水時,進水腔與擠壓腔相通;在擠壓腔內排污水時,進水腔通過密封球或密封錐與鐵芯活塞內的內錐孔密封而斷開進入擠壓腔的進污水通道。
所述的排污水高效節能電磁設備在污水處理站或污水池或堵塞的污水溝中抽排污水時,控制進污水通道和出污水通道的單向止逆閥中沒有回位彈簧;在進水腔內進污水時,鐵芯活塞上行產生的吸力打開密封帽與泵水殼下端的密封頸的密封而打開進污水的通道,安裝在鐵芯活塞內的密封頸上的密封面在自身重力的作用下自動下降回位而關閉進入擠壓腔內的進污水的通道來進行密封;在擠壓腔進水時,安裝在出水閥的內錐孔上的密封球或密封錐利用自身的重力使密封球或密封錐自動下降回位而關閉出水閥上的出污水的通道來進行密封,鐵芯活塞下行而使進水腔內產生壓力推動安裝在鐵芯活塞內的密封頸上的密封帽上行繼而打開進入擠壓腔內的進污水的通道;在擠壓腔排出污水時,在出水壓力的作用下推動出水閥的內錐孔上的密封球或密封錐上行而打開出水閥的出污水的通道,安裝在鐵芯活塞內的密封頸上的密封帽利用自身的重力使密封帽自動下降回位而關閉鐵芯活塞上的進污水的通道來進行密封。
在用于污水池中抽取污水時和在堵塞的污水溝中抽排污水,在輸送污水的管道的出水口低于泵水殼下端的進水孔時,通過泵水而輸出的污水的水頭到達輸送污水的管道的出水口時,在虹吸作用下,安裝在出水閥內的密封球或密封錐被出水的吸力拉動而上行與內錐孔分離打開出污水的通道,安裝在鐵芯活塞內的密封頸上的密封帽在出水吸力的拉動下打開進入擠壓腔的進污水的通道,安裝在泵水殼下端的密封頸上的密封帽在出水吸力的拉動下打開進入進水腔的進污水的通道,整個泵污水的通道就變成了自流的通道,關閉電源后就能夠自流排送污水。
為了保證排污水高效節能電磁設備能夠正常工作,控制電路中有電子遙控裝置的,采用電子遙控裝置控制磁場控制器的連接電路的接通和切斷;控制電路中沒有電子遙控裝置的,采用與絕緣電線連接的電路開關來控制磁場控制器的連接電路的接通和切斷。
為了保證浮力殼能夠保持形狀和不容易變形,在浮力殼的內腔內制造有支撐的骨架。
為了保證污水能夠正常進入進水孔內,浮力殼的重心制造在靠近進水孔的位置。
為了使污水能夠進入泵水殼內,漂浮在污水面上的浮力殼的進水孔必須潛入到水面以下水泵才能夠正常工作。
為了保證進入水泵內的污水中沒有污泥和泥沙,在進水孔接近污水的底部時,采用腳架支撐浮力殼使進水孔與污水的底部保持一定的距離。
為了使鐵芯活塞能夠推動泵水殼內的擠壓腔內的污水進入出水閥,采用排污彈簧作為推動鐵芯活塞上行的動力。
使用時,將排污水高效節能電磁設備放于污水處理站的污水中或污水池的污水中或堵塞的污水溝中的污水中,進水孔深入污水中,浮力殼的上面部分浮出污水面。沒有遙控裝置的,直接接通與絕緣電線連接的電路開關與磁場控制器連接的電路,磁場控制器接通電磁線圈的通電電路產生電磁場;有遙控裝置的,按下遙控器開關的起動按鍵,電子信號接收器接收到起動信號后接通電子遙控裝置與磁場控制器的電路,磁場控制器接通電磁線圈的通電電路產生電磁場;電磁場產生的吸引力拉動鐵芯活塞克服排污彈簧的壓力向下移動,鐵芯活塞開始下行時,安裝在泵水殼內下端的密封頸上的密封帽在自身重力的作用下下行回位而關閉進入進水腔的進污水通道,出水閥內的密封球或密封錐在自身的重力的作用下下行回位而密封出水閥的內錐面,切斷了擠壓腔的出污水通道;鐵芯活塞在下行時,鐵芯活塞推動進入進水腔內的污水而使污水產生內部壓力,有壓力的污水從鐵芯活塞內的通水孔進入到鐵芯活塞內的密封頸的上端處向上沖開環形密封面與密封帽的內密封面的密封而使密封帽移位后繼續上行,經過密封帽上的過水孔后再經過限制塞內的通水孔后進入擠壓腔內。
鐵芯活塞下行移動到壓縮排污彈簧的壓縮極限位時,磁場控制器斷開電磁線圈的通電電路,電磁場消失,鐵芯活塞在排污彈簧的推動下上行;鐵芯活塞開始上行時,安裝在鐵芯活塞內的密封頸上的密封帽在自身的重力的作用下下行而關閉了污水進入擠壓腔的進污水通道;在鐵芯活塞上行時,鐵芯活塞的上行而使擠壓腔內的污水產生了壓力,有壓力的污水從出水閥下端的密封端的內孔進入到出水閥內的內錐孔處推動密封球或密封錐上行而打開出水閥的密封通道,使擠壓腔內的污水經過出水閥、再經過排污連接頭后進入到輸送污水的管道中;鐵芯活塞在上行時,鐵芯活塞還使進水腔內產生了真空吸力,真空吸力吸動密封帽上行而使泵水殼下端的密封頸上端的環形密封面與密封帽的內密封面分開,污水從進水孔經過密封帽上的過水孔進入泵水殼內的鐵芯活塞下面的進水腔內。
鐵芯活塞在排污彈簧的推動下上行到位時,安裝在泵水殼內下端的密封頸上的密封帽在自身重力的作用下下行回位而關閉進入進水腔的進污水通道,出水閥內的密封球或密封錐在自身的重力的作用下下行回位而密封出水閥的內錐面,切斷了擠壓腔的出污水通道而使污水不返回進水腔;此時,磁場控制器又接通電磁線圈的通電電路再次產生電磁場而使鐵芯活塞下行;如此循環的接通和切斷電路,使電磁線圈產生電磁場拉動鐵芯活塞上行和讓排污彈簧推動鐵芯活塞下行,不斷地把污水泵出而輸送到輸送污水的管道中。在污水池中抽送污水時,當輸送污水的管道的出水口低于浮力殼的進水孔時,在輸送污水管道的出水口出水時,關閉電源后采用自流輸送污水。在抽取污水的過程中,浮力殼能夠隨污水面的升高或降低而自動升高或下降。
一種排污水高效節能電磁設備的制造方法,其特征在于:
在制造時,浮力殼采用金屬、塑料、尼龍、玻璃鋼、橡膠中的一種類型或幾種類型的材料制造,采用橡膠材料制造時或制造成形后的浮力殼是軟殼體時,在使用時要先給浮力殼的內腔充氣使其浮于水面;空心閥體和泵水殼采用金屬、塑料、尼龍和玻璃鋼中的一種類型或幾種類型的材料制造;密封球或密封錐采用金屬、塑料、尼龍和橡膠中的一種類型或幾種類型的材料制造;密封帽采用金屬、塑料、尼龍和玻璃鋼中的一種類型或幾種類型的材料制造;鐵芯活塞采用能夠受磁場吸引的材料制造;排污彈簧采用金屬和橡膠中的一種類型或兩種類型的材料制造,采用橡膠材料制造時,排污彈簧制造成為空心的管式彈簧,利用橡膠的彈性和收縮性實現彈簧的功能;排污連接頭采用金屬、塑料、尼龍、玻璃鋼、橡膠中的一種類型或幾種類型的材料制造。
浮力殼制造成為產生浮力的空心腔體,空心腔體的上端制造有伸出孔和線孔、下端制造有進水孔,伸出孔制造成為讓排污連接頭穿過的孔,通過螺母固定排污連接頭,并通過排污連接頭和密封墊及螺母密封伸出孔;線孔制造成為讓絕緣電線穿過的孔,并通過絕緣電線和密封膠環密封線孔;空心腔體內的下面部分安裝有磁場控制器、電磁線圈和泵水殼及泵水殼內安裝的部件,或者,空心腔體內的下面部分安裝有電子遙控裝置、磁場控制器、電磁線圈和泵水殼及泵水殼內安裝的部件;空心腔體內的上面部分安裝有排污連接頭;空心殼體內的下端與泵水殼的下端配合而密封空心殼體的下面部分的內腔,空心殼體下端的進水孔與泵水殼下端的進水孔的位置相對應并相通。
為了方便裝配,浮力殼在制造時,把浮力殼從中間的形狀比較大的地方分成兩部分制造后再組合在一起。
泵水殼的內腔制造成為圓柱形的腔體,圓柱形的腔體的圓柱表面制造成為光滑的曲面;在內腔的中心線上的上端制造有穿過泵水殼的中心孔、下端制造有進水孔穿過泵水殼;在泵水殼內的下端的中部制造有向上凸出的密封頸,密封頸的上端部制造成為環形密封面,密封頸的內部制造成為進水孔,在密封帽的內密封面沒有與環形密封面密封時進水孔通過過水孔與進水腔相通,密封帽的內密封面與密封頸的環形密封面配合。
出水閥制造成為空心閥體和密封球或密封錐兩部分,空心閥體制造成為空心管,內錐孔制造在空心管的內腔的中部或中下部,空心管內的內錐孔的上面部分制造的內徑大、下面部分制造的內徑小;空心閥體的下端制造有回水密封端,回水密封端的下端面制造在空心閥體的下端、上端面制造成為內錐孔,內錐孔的大端與出水閥的上端相通、小端與出水閥的下端相通,在內錐孔的內錐面上安裝有密封球或密封錐。所述的內錐孔制造成為有錐度的圓孔,圓孔的面制造成為內錐面;內錐孔的小端在下、大端在上,在密封球或密封錐自身的重力的作用下能夠密封內錐面,在密封球或密封錐的上面有吸力時通過吸力能夠打開內錐面與密封球或密封錐密封的通道;密封球或密封錐上面的水壓越大,密封球或密封錐與內錐面的貼合密封效果越好;在從空心閥體下端的內孔進入有壓力的污水時能夠打開內錐面與密封球或密封錐的密封而形成通道,或者在輸送污水的管道的下端口低于進水孔時產生的吸力能夠打開內錐面與密封球或密封錐的密封而形成通道。
為了便于泵水殼的加工和便于把配件裝入泵水殼內,所述的泵水殼制造成為分段加工制造后的組合體;在泵水殼內的圓柱形腔體部分的上端處分成二段制造,分段處的上面部分制造成為泵蓋、下面部分制造成為泵水殼的主體,中心孔制造在泵蓋上,進水孔制造在泵水殼的主體下端的中部,泵蓋和泵水殼后的主體制造好后再組合成為一個組合整體;或者,在泵水殼內的圓柱形腔體部分的下端處分成二段制造,分段處的下面部分制造成為泵蓋、上面部分制造成為泵水殼的主體,進水孔制造在泵蓋的中部,中心孔制造在泵水殼的主體的上端的中部,泵蓋與泵水殼的主體制造好后再組合成為一個組合整體。
鐵芯活塞制造成為圓柱形的鐵芯,圓柱形的鐵芯的外圓面制造成為光滑的外圓面,在光滑的外圓面上制造有凹陷的環槽,環槽內嵌有密封環;所述的外圓面與泵水殼的內腔配合能夠密封泵水殼的內腔,并能夠在泵水殼的內腔內滑動。所述的圓柱形的鐵芯的柱體中心部位制造有貫穿孔,貫穿孔與擠壓腔和進水腔相通;所述的貫穿孔制造成為上面部分貫穿鐵芯的上端面、下面部分貫穿鐵芯下端面,貫穿孔的下面部分制造成為通水孔,貫穿孔的上面部分制造成為塞孔,在塞孔的底部制造有向上凸出的環形的密封頸,密封頸部分的內孔制造成為通水孔的上面部分,在密封頸的外環面與密封頸部分的塞孔之間制造有環形的凹槽,環形的凹槽用于容納密封帽的帽管部分;所述的密封頸的上端面制造成為光滑平整的環形密封面,密封頸的外圓面制造成為光滑的外圓面。在通水孔的上面制造有塞孔;所述的通水孔制造成為讓污水通過的過孔,制造在環形密封面的下面,與進水腔和塞孔相通;所述的塞孔制造成為安裝和固定限制塞的孔,制造在密封頸的上面和密封頸外面,與擠壓腔和通水孔相通。
限制塞制造成為中間有通水孔的堵頭,所述的堵頭制造成為中間有通孔的柱體或環形圈或卡簧圈,能夠限制安裝在鐵芯活塞內的密封頸上的密封帽向上移動的距離;限制塞制造成為中間有通孔的柱體時,在塞孔中的固定采用過盈配合固定或螺紋配合固定或采用卡簧卡在塞孔中的卡簧槽內固定柱體的兩端;限制塞制造成為環形圈時,在塞孔中的固定采用過盈配合固定或采用卡簧卡在塞孔中的卡簧槽內固定環形圈的兩端;限制塞制造成為卡簧圈時,直接將卡簧卡在塞孔中。
所述的環形密封面制造成為圓環形的平整光滑的密封面,分別制造在鐵芯活塞的密封頸的上端與密封帽的內密封面配合和制造在泵水殼的內腔的下端中部的密封頸的上端與密封帽內的內密封面配合。
所述的密封帽制造成為頂部密封的圓管式帽體,密封帽的內頂部分制造成為內密封面,靠近內密封面的圓管部分制造有過水孔。
密封錐制造成為圓錐體或錐柱體,圓錐體或錐柱體的環形表面制造成為有錐度的外錐面;密封錐的外錐面與內錐面密封時靠密封錐自身的重力下壓而密封內錐面。
密封球制造成為圓球體或橢圓球體,圓球體或橢圓球體的表面制造成為密封面,密封面制造成為光滑的球面;密封球的球面與內錐面密封時靠密封球的自身重力下壓而密封內錐面。
磁場控制器制造成為控制電磁線圈產生電磁場的控制器,控制著電磁場產生的時間和產生電磁場時間的長短、及每次產生電磁場后到第二次再產生電磁場的間隔時間。
電子遙控裝置制造成為接通和切斷磁場控制器的電路開關,包括接通或切斷電路的開關部分和電子遙控部分,電子遙控部分包括遙控器開關和電子信號接收器;所述的電子遙控裝置在本發明中可以有也可以沒有。
排污連接頭制造成為帶有連接頭和連接管的一體式的污水管。
進水孔制造成為污水進入泵水殼的內腔的經過孔,分別制造在密封頸的中心部位和制造在浮力殼的底部的中心部位;在密封頸內的進水孔的上端制造有環形密封面,在浮力殼下端的密封頸的環形密封面上沒有安裝密封帽時,進水腔與進水孔相通。
為了保證排污水高效節能電磁設備能夠正常工作,控制電路中有電子遙控裝置的,采用電子遙控裝置控制磁場控制器的連接電路的接通和切斷;控制電路中沒有電子遙控裝置的,采用與絕緣電線連接的電路開關來控制磁場控制器的連接電路的接通和切斷。
為了保證浮力殼能夠保持形狀和不容易變形,在浮力殼的內腔內制造有支撐的骨架。
為了保證污水能夠正常進入進水孔內,浮力殼的重心制造在靠近進水孔的位置。
為了使污水能夠進入泵水殼內,漂浮在污水面上的浮力殼的進水孔必須潛入到水面以下水泵才能夠正常工作。
為了保證進入水泵內的污水中沒有污泥和泥沙,在進水孔接近污水的底部時,采用腳架支撐浮力殼使進水孔與污水的底部保持一定的距離。
為了使鐵芯活塞能夠推動泵水殼內的擠壓腔內的污水進入出水閥,采用排污彈簧作為推動鐵芯活塞上行的動力。
在浮力殼內的下面部分安裝有泵水殼、電磁線圈,在浮力殼的外面的下面一面固定有腳架,腳架的下端低于浮力殼下端的進水孔的位置,浮力殼下端的進水孔與泵水殼下端的進水孔相通;電磁線圈固定在泵水殼外面的上面部分,泵水殼的下端固定在浮力殼內的下端。連接電磁線圈的電路與磁場控制器連接,磁場控制器的電路與電子遙控裝置連接,電子遙控裝置與絕緣電線連接,磁場控制器、電子遙控裝置和電子遙控裝置的電子信號接收器安裝在浮力殼內;或者,連接電磁線圈的電路與磁場控制器連接,磁場控制器的電路與絕緣電線連接,磁場控制器安裝在浮力殼內。在泵水殼內安裝有密封帽、排污彈簧、鐵芯活塞、限制塞,鐵芯活塞安裝在泵水殼的內腔的上面部分,排污彈簧安裝在泵水殼的內腔的下面部分,排污彈簧的下端壓在泵水殼內的下端、上端頂壓在鐵芯活塞的下端部,鐵芯活塞在泵水殼的內腔內能夠上下滑動;在鐵芯活塞內的塞孔的下面部分的密封頸上安裝有密封帽,密封帽的帽管部分在密封頸的外圓面上能夠上下滑動,在塞孔內安裝有限制塞來限制密封帽向上滑動時的滑動距離,限制塞在塞孔中的固定采用過盈配合固定或螺紋配合固定或采用卡簧卡在塞孔中的卡簧槽內固定限制塞的兩端;密封帽的內頂部分的內密封面與環形密封面配合而密封時能夠關閉鐵芯活塞上的進污水的通道,密封帽的內頂部分的內密封面與環形密封面分開時能夠打開鐵芯活塞上的進污水的通道;在泵水殼內的下端的密封頸的外圓面上套有密封帽,密封帽在泵水殼內的下端的密封頸的外圓面上能夠上下滑動;密封帽內的內密封面與密封頸端部的環形密封面配合能夠密封或打開進入泵水殼內的進污水通道;鐵芯活塞上行時,鐵芯活塞下面部分的泵水殼的內腔部分是進水腔;鐵芯活塞下行時,鐵芯活塞上面部分的泵水殼的內腔部分是擠壓腔。在泵水殼的上端安裝有出水閥,出水閥的下面部分固定在泵水殼的上面一端的中心孔內;出水閥的上端露出泵水殼的上端面的部分與排污連接頭的下端連接,排污連接頭通過伸出孔固定在浮力殼的上端,排污連接頭的上端通過軟管或伸縮管與輸送管道連接。
本發明排污水高效節能電磁設備的結構緊湊、振動小、電能利用率高、動力強勁,適合污水處理站抽排污水、污水池中抽排污水和在堵塞的污水溝中抽排污水;抽排污水時漂浮在污水面上,能夠隨污水面的升高或降低而自動升高或下降,污水底部的泥沙和污泥不能夠進入污水泵內;在輸送污水的管道的出水口低于泵水殼下端的進水孔時,關閉電源后也能夠自流排送污水,節約了電能;產業化的市場前景好、商業價值高,制造和使用都很方便。

污水處理設備聯系方式:
銷售熱線:010-8022-5898
手機號碼:186-1009-4262
污水處理欄目網址:http://www.blogstation.cn/ws/